您现在位于:首页产品中心高压、真空类产品 → FN3-10(R)户内高压负荷开关
[上海山合海融商贸有限公司](繁體中文 )是国内外 品牌的低压电器产品,安全防护产品,进口核相仪,西班牙lifasa公司电容器,验电器,接地线,放电棒,绝缘毯,绝缘手套,绝缘靴,巡更巡检系统,过电压保护器,电涌保护器,双电源自动切换等产品的代理商。
 
 
----------------------------------------------------------------------------------------------
概述:
  FN3-10户内负荷开关,适用于交流50Hz,6kV10kV的网络中,作为开断和闭合负荷电流之用,亦可用作开断闭合长线、空载变压器及电容器之开关。带RN3型熔断器的负荷开关,可切断短路,作保护开关作用。
----------------------------------------------------------------------------------------------
主要结构说明
  负荷开关由底架、传动机构、支柱绝缘子、闸刀及灭弧装置等部分组成。底架由钢板焊接而成,并装有传动机构,闸刀借支柱绝缘子固定在底架上,闸刀接触点端部装有弧动触头,灭弧装置由压气装置及喷嘴构成,在底架上还配有跳扣、凸轮与快速合闸弹簧,可进行快速合闸动作。
----------------------------------------------------------------------------------------------
主要技术参数
表1 负荷开关技术参数
型号
额定电压kV
Z高工作电压kV
额定电流A
动稳定电流KA
热稳定电流kA/S
FN3-10
10
11.5
400
25
10/2
机械寿命
安装尺寸
静拉力(N)
操作力距
≥2000次
650*326
Fa2=500N Fb2=170N
300Nm
 
2 熔断器技术参数
型号
额定电压kV
额定电流A
Z大开断电流
(有效值)kA
Z大断流容量MVA
Z大开断电流
(有效值)kA
RN3-3
3
10~50
40
200
24.5
75~100
24.5
200
35
RN3-6
6
10~50
20
200
14
75
14
100
19
200
25
RN3-10
10
10~50
12
200
8.6
75
8.6

100~150

15.5

----------------------------------------------------------------------------------------------
FN3-12系列户内高压负荷开关
 

概述

Summary

1、FN3-12、FN3-12R、FN3-12R/S负荷开关系户内装置的高压电器。适用于交流50Hz、6KV或12KV的网络中,作为开断和闭合负荷及过荷电流之用,亦可用作开断和闭合空载长线。空载变压器及电容之开关。带有RN3型熔断型的负荷开关(FN3-12、FN3-12R/S)可切断路器,作保护开关之用。

2、本负荷开关可配用CS3型及CS2型手动操作机构进行操作。

1、FN3-12、FN3-12R、FN3-12R/S Series are used in the network of AC 50Hz、6KV or 12KV for breaking or closing load and over-load current. they are also used in breaking and closing no-loading . The switch or no-load transformer and capacitor with KN3 type fuse box. Can cut off short-circuit for protecting switch.

2、They can be equipped with CS3 type and CS2 type handle operating mechanism.

工作条件

Service Condition

1、海拔不C过1000米;
2、周围空气温度不高于+40oC及不低于-10oC;
3、空气相对湿度不大于90%的户内场(当温度为+25);
4、无导电性尘埃的环境中;
5、无破坏金属和绝缘的腐蚀性气体的物体;
6、无剧烈震动和冲击的地方;
7、无燃烧与爆炸危险的环境中。
1 、The altitude does not exceed 1000m.
2、The ambient air temperatrue : Max:+40oC. Min:-10oC.
3、The relatire humidity of air not bigger 90% (temperature:25oC)
4、The working situation have no conductivity dust.
5、The working situation have no corrosive gas of effect insulation anddestroy metal.
6、The working situation without violent vibration and striking.
7、The working situation have no explosive danger and fire.

技术参数

Technical parameter

1、负荷开关的基本技术数据应符合下表的规定:

The load switch is suitable for the basic technical parameter (please see the table)

型号

Type

额定电压(KV)

Rated voltage

Z高工作电压(KV)

Max.working voltage

额定电流(A)

Rated current

动稳定电流(KA)

Machine stabling current

热稳定电流(kA/s)

Heat-stabling current

FN3-12 12 12 400 25 10/2

2、负荷开关所配带的熔断器的型号及数据应符合下表的规定:

The load switch witch fuse box is suitable for the technical parameter (please see the table)

型号

Type

额定电压(KV)

Rated voltage

额定电流(A)

Rated current

Z大开断电流
(有效值)(KA)

Max.breaking
current(value)

Z大断流电容量

Max.cut-off capacity

当切断极限短路时
电流之Z大峰值(KA/s)

Current peak when cutting
off limit short-circuit

FN3-3 3 10~50 40 200 24.5
75~100 24.5
200 35
FN3-6 6 10~50 20 200 14
75 14
100 19
200 25
FN3-10 12   12 200  
10~50 8.6
75 8.6
100~50 15.5

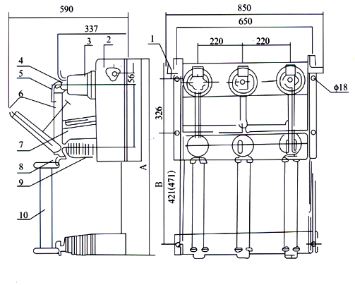
外形图

Appearance diagram

1、拐臂
2、框架
3、上绝缘子
4、主静触头
5、弧动触头
6、闸刀
7、绝缘拉杆
8、下触座
9、下绝缘子
10、熔断器

1、Bend the arm
2、Framework
3、Upper insulator
4、Main static contact
5、Arc moving contact
6、Switch
7、Insualting pole
8、Lower insulator
9、Lower insulator
10、Fuse box

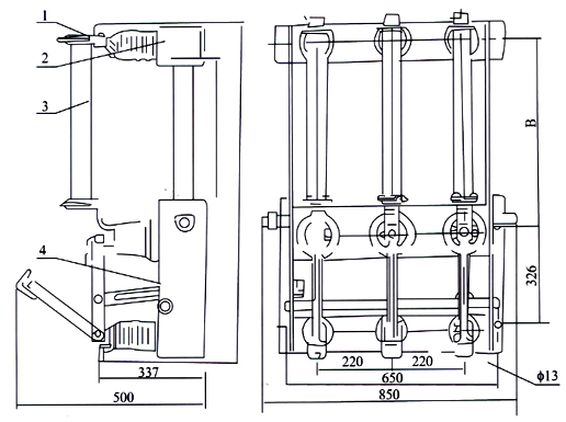
FN3-12、FN3-12R 型负荷开关

FN3-12、FN3-12R Type Load Switch

 

1、插座
2、框架
3、熔断器
4、负荷开关本体

1、Socket
2、Framework
3、Fuse Link
4、Load switch body

FN3-12R/S 型负荷开关

FN3-12R/S Type Load Switch

 

安装图

Installation diagram

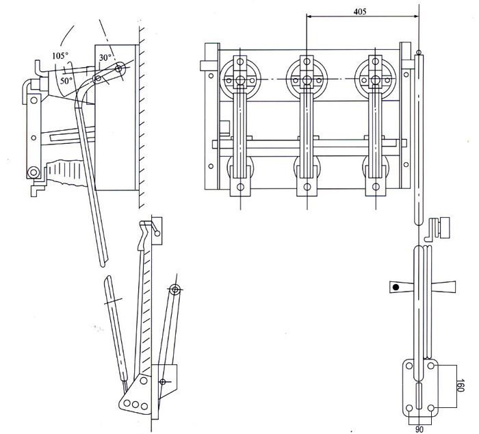
1、FN3-12负荷开关与CS3操动机构传动装置连接安装图(机构安装在开关之后)

Installation diagram for connecting FN3-12 Load Switch with CS3 operating mechanism friving (The mechanism is installed at the back or the switch).

安装图

Installation diagram

1、FN3-12负荷开关与CS3-Ⅰ操动机构传动装置连接安装图(机构安装在开关之前)

Installation diagram for connecting FN3-12 Load Switch with CS3 operating mechanism friving (The mechanism is installed at the back or the switch).


   
 
1、辅助开关
2、连杆
3、M6双头螺杆(客户自备)
4、CS3-T型操动机构
5、3/4焊接钢管(客户自备)
6、弯型拐臂
7、FN3-12型户内负荷开关
1.Auxiliary switch
2.Link
3.M6 lead-screw with two ends(provided by users themselves)
4.CS3-Type operating mechanism
5.3/4welded steel pipe (provided by users themselves)
6.Arm bend
7.FN3-12 type indoor load switch