| |
|
FN5-10型户内交流高压负荷开关及熔断器组合电器
◆产品用途及特点 FN5-10型户内交流高压负荷开关(以下简称负荷开关)适用于50Hz、10kV的网络中,作为开断负荷电流及关合短路电流之用。带有精神焕发熔断器的负荷开关可切断短路电流、作保护开关之用。 本负荷开关可配用CS6-1型 手动操动机构,本产品专用CS□手动操动机构或CJ□电动操动机构。
◆使用环境条件 周围空气温度:+40℃~-25℃(电动机构不低于-5℃); 海拔不C过1000m; 相对湿度:日平均值不大于95%,月平均值不大于90%(+25℃); 周围空气应无腐蚀性或可燃性气体,水蒸气等明显污染; 无经常剧烈振动。
◆型号及意义
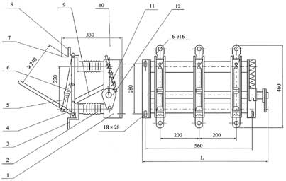
 ◆组合开关外形尺寸图
 1、底架 2、支柱绝缘子 3、支座接线板 4、触刀 5、灭弧室 6、扭簧及扭簧销轴 7、导向片 8、触座接线板 9、拉杆 10、转轴 11、弹簧储能机构 12、操作盘
| 所配机构型号 L |
| CS6-1 768 |
| CS□ 735 | ◆主要技术参数
| 名称 |
单位 |
数据 |
| 额定电压 |
kV |
10 |
| 额定工作电压 |
kV |
11.5 |
| 额定频率 |
Hz |
50 |
| 额定电流 |
A |
400 630 |
| 额定短时耐受电流(热稳定电流) |
kA/s |
12.5/4 20/2 |
| 额定峰值耐受电流(动稳定电流) |
kA |
31.5 50 |
| 额定闭环开断电流 |
A |
400 630 |
| 额定有功负载开断电流 |
A |
400 630 |
| 5%额定有功负载开断电流 |
A |
20 31.5 |
| 额定电缆充电开断电流 |
A |
10 |
| 额定空载变压器开断电流 |
|
1250kVA变压器的空载电流 |
| 额定短路关合电流 |
kA |
31.5 50 |
| 负荷电流开断次数 |
负荷/次 |
/2 30%/75 |
| 1min工频耐压(有效值)对地、相同/隔离断口 |
kV |
42/48 |
| 工频耐受电压隔离断口间 |
kV |
53 |
| 雷电冲击耐受(峰值)对地、相间/隔离断口 |
kV |
75/85 |
| 分合闸操作力矩(力) |
Nm(N) |
90(180) 100(200) |
| 机械寿命 |
次 |
10000 | |
|
|
| |
|