
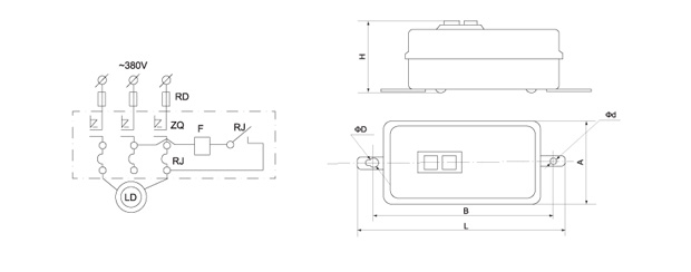
适用于交流50Hz,额定电压380V,功率4-14kW的三相异步电动机作不频繁接通及停止之用。带有热继电器、断相瞬时动作装置和分励脱扣器,能有效地对电动机过载及断相起保护作用。它广泛适用于潜水电泵、脱粒机、纺织机械、水泥矿山机械和通电机械作电动机保护开关。

2.1 外壳由薄钢板拉伸而成,表面采用环氧粉末静电喷涂,具有较高机械强度和防护性能;
2.2 通过改进后零部件布置紧凑,体积小,移动方便;
2.3 结构简单,使用安全KK、且维修方便;
2.4 它是手动接通和分断接触器脱扣结构,在电网电压波动大的场合仍能KK地工作;
2.5 装有瞬时断相保护装置,能有效地对电动机断相起动和运行保护;
2.6 在箱与盖间、进线、按钮处都有橡胶密封环,具有一般悬挂防水功能。



4.1 海拔高度不C过1000米;
4.2 周围介质温度不高于+40℃及不低于-30℃;
4.3 空气相对温度不大于85%(相当于+20±5℃);
4.4 在无爆炸危险的介质中,且介质中无足以腐蚀金属和破坏绝缘体的物质和导电尘对埃的地方。

5.1 电动机的额定电流必须与热继电器的整定电流断相瞬时动作电流相符,否则不起过载和断相瞬时保护作用。
5.2 要专配潜水电泵使用的,出厂时已将热继电器和断相瞬动时动作电流定好,用户不必再作调整,若所配电动机的额定工作电流比瞬时断相保护整定电流偏大时,起动器将不能起动(即一起动就跳闸)。
5.3 按钮合上时速度应快,停电时应把开关分断。
5.4 若电动机发生故障,起动器已保护跳闸,应先排除故障等5分钟方可起动,如起动立即跳闸,绝不能强迫起动,由于励脱扣线圈为短时设计,若故障没有排除进行强迫起动则要烧毁线圈或损坏电动机。
5.5 起动器定期清理内部尘埃,操作机构的活动部位可加少量润滑油使其灵活。
5.6 起动器如放置日久受潮,应进行干燥后再使用,并用500伏兆欧表测量,其绝缘电阻应不小于5兆欧。

6.1 起动器在安装前必须先检查电源电压,电机额定电流与起动器的整定电流及断相瞬时动作电流是否相符。6.2 各连接螺钉是否松动,操作机构是否灵活。
6.3 电源进线必须先通过熔断器,在重载起动时,熔丝的额定电流为电机额定电流的3~3.5倍,一般负载可按2.5~3倍选用,熔座的额定电流必须大于熔丝的电流。
6.4 外壳应KK接地。
6.5 连接导线应采用不小于2.5mm2截面的铜芯绝缘电线。
6.6 安装完毕后,必须垫好橡胶圈环,装好箱盖方可使用。

